春满四合院

春满四合院
春满四合院 主任信箱 ENGLISH
研究生教育



研究生教育
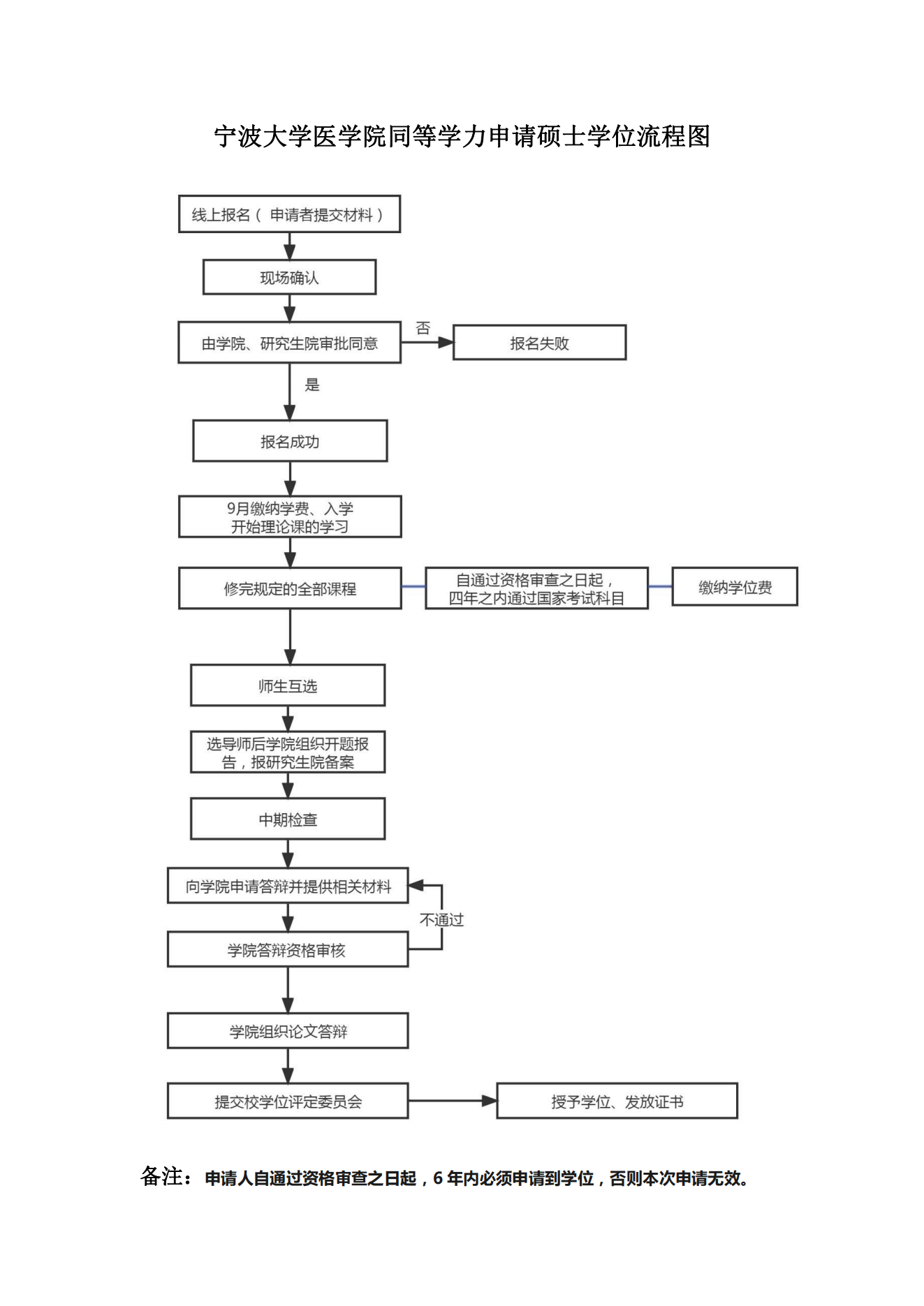
研究生招生 培养工作 学位工作 导师工作 同等学力 学科建设 常用流程 规章制度 相关下载



快速入口  SHORTCUT